一、用途:
新HW-15T型红外压片机是一种迷你型的压力试验机,为红外光谱仪制备粉末试样片而设计的一种小巧、省力、方便、手动液压型红外压片机,也可兼作其它压力试验用,具有压力计量指示功能,适用于为国外傅立叶红外光谱仪配套。人性化设计的13mm模具可根据用户习惯选用不用脱模的HW-15T型,并已配齐与光谱仪配套的连接插板。
二、主要技术指标及工作压力与压力表读数MPa换算公式:
性能指标:主油缸截面积:0.333dm2
工作压力(吨)=0.333×压力表数(MPa)
额定工作压力 | 12吨=120KN(36MPa) | 工作活塞行程 | 20mm |
极限工作压力 | 15吨=150KN(45MPa) | 工作台空间(高度可选) | 95×95×85mm3 |
外形体积尺寸 | 175×175×300mm3 | 重量 | 15kg |
压力表读数(MPa) | 9 | 18 | 24 | 30 | 36 | 45 |
工作压力(吨) | 3 | 6 | 8 | 10 | 12 | 15 |
三、工作原理:
该机依据作用在两个活塞的力与这两个活塞的截面积成正比的液压原理设计而成。当旋紧放油阀,反复搬动手柄使小柱塞往复运动,把吸入的机油压入大活塞的油腔,从而推动大活塞上升,大活塞上升受阻时,压力表显示压力数值。
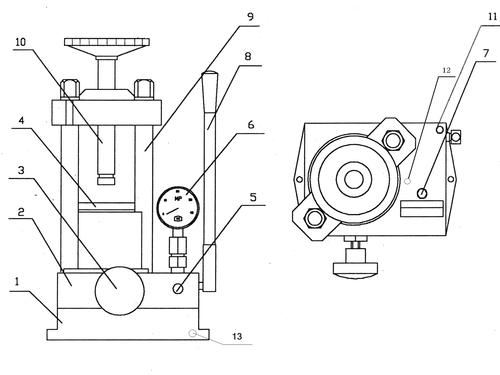
四、压片机主要结构:

1、底座 2、阀体 3、放油阀 4、工作台(大柱塞)
5、高压单向阀 6、压力表 7、低压单向阀 8、压油手柄
9、立柱 10、压紧丝杠 11、锁紧螺钉 12、放气及注油孔
13、加长孔
五、使用方法:
把待压的模具或其它附件放于压片机主油缸工作台上,手工拧紧大丝杠把模具拧紧。关闭放油阀(顺时针拧紧)摇动压油手柄直至所需压力值保持几分钟后打开放油阀,取出模具。如果在13的加长孔中拧入加长螺钉打压时会更稳定。
六、注意事项:
1、 加压不允许超过其最大压力;
2、 使用时用丝杠顶紧受压物品;
3、 大活塞行程不能超过30mm。
七、故障原因及排除方法:
故障现象 | 原因 | 排除方法 |
无压 | 1、油池里的油不够 2、低压阀、高压阀不严 3、有漏油的地方 4、放油阀未拧紧 5、模具未顶紧 | 1、向油池里加入40#机油 2、清除阀口异物 3、找到漏油处更换密封圈 4、拧紧放油阀 5、拧紧大丝杠 |
掉压 | 低压阀、高压阀不严或有漏油的地方 | 清除阀口异物或找到漏油处更换密封圈 |
小柱塞漏油 | 小柱塞密封圈磨损 | 拧下锁紧螺钉11,取出整体压油手柄8,再取出滑块及小柱塞,更换小柱塞上的密封圈。 |
八、备件:
1、M6、M8内六方搬子各一把;
2、密封圈2只。
注:保修期壹年之内请妥善保管压片机外包装木箱、出现问题以便邮寄。如无包装箱、维修完成回寄时将收取外包装木箱费用。