该仪器采用调速电机传动系统,均匀加载,显示准确,重复性好,适用于强度较小的非金属材料的抗压强度检测,也满足标准:HG/T2783-1996分子筛抗压碎力试验方法,HG/T3927-2007工业活性氧化铝中抗压强度的测定。
主要技术参数:
1、zui大载荷:500N或1000N任选;
2、抗压强度试样大小: ≤Φ50(mm)(可根据客户要求订做);
3、测量精度:误差≤0.5%;
4、微电脑数据处理,压力数字显示,并可保持压力峰值;
5、电源:220V、60W
配置:含SKY-500测试主机壹台,圆形抗压夹具壹套。
注:选配条状分子压碎力模具可做条形分子筛的检测,费用另计。


湘科SKY-10000颗粒抗压强度测定仪
该仪器采用调速电机传动系统,均匀加载,显示准确,重复性好,适用于颗粒活性炭等强度较小的非金属材料的抗压强度检测,满足标准:GB/T30202.3-2013 脱硫脱硝用煤质颗粒活性炭试验方法 第3部分:耐磨强度、耐压强度测定方法中对耐压强度的测定。
主要技术参数:
zui大载荷:10000N;
分度值1N;
3、颗粒直径: ≤Φ30(mm)
4、测量精度:误差≤1%F.S;
5、荷重精度:±1%;
6、工作模式:测试物料压碎裂后,设备自动复位;
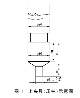
7、压柱直径为6.1mm,下具按国标GB/T30202.3-2013 标准订制。
8、采用变频电机驱动,通过传动机机构带动下夹具上下移动,实现试验加载过程。
9、机器具有完善的限位保护、超载保护、急停等安全保护功能。
10、微电脑数据处理,数字显示压力值,并保持压力峰值;
11、电源:220V、
12、测试速度:100mm/min~120mm/min。
配置:含SKY-10000主机壹台,抗压夹具壹套。

