工作原理:
落砂耐磨试验器是用来测试在标准条件下有机涂层的耐磨性。本方法测试涂层的耐磨性是将磨料通过导管从规定的高度落到已涂装的试板上直至试板底材露出可现。以磨耗单位膜厚的磨耗量来表示试板上涂层的耐磨性。本仪器的测试方法符合美工业标准ASTMD968-83中落砂法试验有机涂层的耐磨性和建筑工业行业标准JG/T 133-2000建筑用铝型材、铝板氟碳涂层对耐磨耗性进行测试的要求。

结构及主要参数:
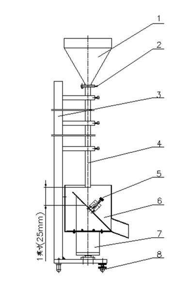
1.结构(参见外形图):
落砂耐磨试验器主要由漏斗(1)、落砂开关(2)、支架(3)、导管(4)、试板夹具(5)、砂箱(6)、调整螺钉(7)组成。
2.参数:
a.外形尺寸:230mm×200mm×1500mm(长×宽×高)
b.导管长度:36英寸(914mm)
c.导管内径:0.75英寸(19mm)
d.整机重量:25kg
仪器简介:
落砂耐磨试验器根据ASTM设计制造,操作简便。在导管(4)附近设置个控制砂流动的开关(2),导管(4)下部有个与垂直位置成45度角的放置试板的砂箱(6),砂箱(6)两边有夹具(5)用来夹紧试板。仪器下部有高低调节螺母(7),用来调节管子到涂漆表面的距离。仪器底部有调整螺钉(8),以便适当的调准砂流中心位置。
试验准备:
1.按标准要求制备试板并在(23±2)℃、相对湿度(50±5)%条件下放置24小时。
2.校准仪器:
(1).将一定量的砂倒入漏斗(1),检查从导管(4)下端落下的砂流,用底部调整螺钉(8)校准装置,直至从互为90°的两个位置上观察时,砂束的内心正好落在砂流中心位置上为止。用高低调节螺母(7)来调节管子管子到涂漆表面的距离根据ASTM标准,在垂直方向测量时,其近点为1英寸(25mm),用户需根据自己的样板厚度进行调整,出厂时机器预先调节25mm。到倒入定体积量的砂(以2000±10ml为宜),并测出流出时间,流出速度应是21S~23.5S内流出2L。
(2).将试板用试板夹具(5)固定,并逐步增加放入的砂量,直至逐渐磨耗露出直径为 5/32 英寸(4mm)圆点的底材为止。整个磨耗区域是个宽约1英寸(25mm)长约1.25 英寸(30mm)的椭圆形。大磨耗区域的中心应在磨耗图形长轴的中心线上,并在上端的9/16~11/16英寸(14~17mm)之内。为了将磨耗圆点校正在磨耗图形的中心,允许仪器进行微调。
(3).将一块金属试板用试板夹具(5)固定,上有5/32 英寸(4mm)的小孔,孔的中心需对准导管的中心,秤量通过试板孔落到容器中的砂量,如果通过孔的砂量是落在试板上总砂量的90% ~93%则认为仪器是标准的。
测试步骤:
1.在每块试板上标出三个圆形区域,每个圆形区域直径约为1英寸(25mm),并使试板能在仪器的试板支架上能合适的就位。按标准测试涂层厚度,每个区域至少有三个测试点,记录各自区域上涂层厚度的平均值。
2.将已涂装的试板用试板夹具(5)固定在试板支架上,调整试板使标出的区域正好在在导管的中心下方,将一定体积的标准砂灌注到漏斗(1)中,打开落砂开关(2),使砂通过导管,撞击到试板上,在仪器底部用容器收集落下的砂。重复上述操作,直到涂层有5/32 英寸(4mm)直径的区域露出底材。在试验过程中,合适增量砂子是2000±10ml,快接近终点时,可以在漏斗(1)中加200±2ml的砂。
3.按以下公式计算涂装试板的每个测试区域的耐磨值
A=V/T
式中:
A——耐磨值,以升每微米计
V——磨料使用量,升(保留位小数)
T——涂层厚度,微米(保留位小数)
需计算同试板不同区域的耐磨值的平均值和不同试板耐磨性的平均值。
注意事项:
1.为了保证砂束的内心正好落砂流的中心,每隔一段时间要检查导管的对准情况。
2.砂粒通过仪器25次后,要用No.30的筛子将变细的砂粒除去,砂粒用过50次后要重新更换。
3.为了获得高精密度的试验结果,买卖双方应使用同来源的砂子。
外形图:

落砂耐磨试验器外形图
1——漏斗 2——落砂开关 3——支架 4——导管
5——试板夹具 6——砂箱 7——高低调节螺母 8——调整螺钉
售后服务:
1、产品质量问题,在产品售出7天内提出异议并且产品未有损坏的,我司负责无条件免费退换货;
2、本产品全国联保,质保期:1年质保;
3、质保期内如有产品质量问题,免费维修;质保期外长期提供技术支持;
4、所有产品售后问题,请直接联系我司,我司售后服务团队会在30分钟内响应处理。