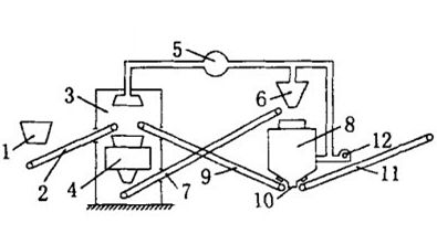
该套设备包括双转子多排锤式制砂机、旋风式除尘器、离心式选粉机和给料机构及传送皮带等组成。由上料斗1的半成品碎石进入上料皮带2进入制砂机4,机制砂由传送带7运送到离一1、5,式选粉机8,风由吹风机引人离心式选粉机8,机制砂在离心力和空气流的双重作用下完成分选。只要施加的气流流速、气量合适,空气流不仅对散状砂有粗细分选功能,而且对粘附在砂颗粒上的风尘杂质有“擦洗”和“剥离”功能,完全可以保证砂的洁净质量。
流程图示意图:

1-上料斗;2-上料皮带;3-准封闭式制砂间;4-制砂机;5-引风机;6-旋风除尘器;7-传送带;8-离心式选粉机;9-返回皮带;10-矿粉装袋器;11-出料皮带;12-吹风机
流程图:
