一、概述
LZY路面砖透水系数测试仪适用于按GB/T25993-2010 《附录C 透水路面砖和透水路面板透水系数测试方法》测定透水路面砖和透水路面板透水系数的试验方法。本仪器主要由水箱、电器控制箱及试样夹具、天平等部分组成。试样夹具适用于截面为圆柱形的试样,夹具保证了在试验过程中液体只能从试样表面孔中通过而不至于从试样边缘泄露。
二、主要技术参数
1、 试验压力:150mm水柱,
2、 标准试样规格:直径:Φ750-2 mm,厚度40~120mm,
3、时间:0到99小时,
4、电源电压:220V 50HZ。
二、工作原理
透水系数:一定压差作用下,材料渗透通过液体的能力。
在一定压差作用下,让已知动力粘滞系数的流体以层流状态通过试样,并对流量进行测定。
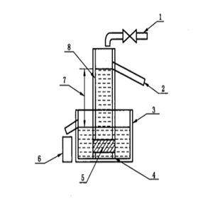
透水系数试验装置如图1所示:

1---供水系统;
2---溢流口;
3---溢流水槽:具有排水口并保持一定水位的水槽;
4---支架;
5---试样;
6---量筒;
7---水位差;
8---透水圆筒:具有溢流口并能保持一定的水位的圆筒。
